
1.城市内涝监测系统产品介绍
我司研发的积水监测站由远程遥测终端RTU、电子水尺、语音播报模块、光报警模块LED屏显示模块等组成。电子水尺通过485通信,将测量到的水位信息传输到远程遥测终端,遥测终端将得到的水位值通过4G通讯模块,再传送给后台服务器,然后传送到微信小程序/云平台网页终端。同时可以将检测到的水位值,实时显示在LED屏上,水位超限会触发号筒扬声器和声光报警器双重报警。从而全面掌握城市内涝状况、实现排水统筹调度,建立起城市内涝监测预警系统。
2.城市内涝监测系统功能特点
可因地制宜选择4G(全网通)、网口等上传方式。
可外接显示屏,实时显示当前水位,超限变色显示。
可外接语音播报及光报警器,实时水位预警。
自带两路继电器输出,可接外设扩展,支持平台控制、自动等控制模式。
可通过手机配置软件“蓝牙app”进行配置参数。
可外接两路室外LED双色显示屏,实现隧道两端同时显示实时水位值。
设备可设阈值,超限醒目提示,关联光报警器、号筒扬声器。
支持我司提供的多款软件平台、客户自己的平台。
设备支持远程升级、支持二次开发。
交流220V供电、IP65防水等级,可常年工作于室外,不惧淋雨室外。
兼容多种立杆,安装简单灵活。
3.城市内涝监测系统技术参数
供电 | AC220V |
供电方式 | 市电或太阳能供电 |
设备功耗 | ≤25 W |
工作温度 | -40—80℃ |
设备接口 | 接口类型 | 说明 |
| LED屏显示接口 | 双色LED显示屏(最大点数96*16) |
电压输入范围:0~5V |
|
|
| 两路模拟量接口(预留) | 采集范围:4-20mA、0-5V、0-10V默认4-20mA |
| 一路水浸检测(预留) | 可检测有无水 |
| 两路继电器接口 | 继电器容量:250VAC/30VDC 3A 一路可设置有源无源,用作报警或自动控制 |
报警设备 | 支持声光报警 | 支持语音播报 |
LED屏 | 尺寸102cm*22cm双色屏 |
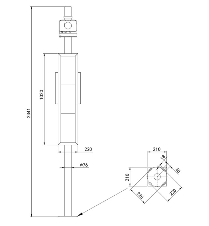
设备支架 | 2米立杆 |
电控箱 | 用于放置远程遥测终端机、电源 |
4.产品选型
RS- |
| 公司代号 |
| JSJC- |
| 积水检测站 |
|
| 100- |
| 标准版 |
|
|
| 4G | 4G上传 |
5.产品尺寸
